AMD申请3D堆叠散热专利
随着2D平面半导体技术渐入瓶颈,2.5D、3D立体封装普遍被视为未来大趋势,AMD Fiji/Vega GPU核心与HBM显存、Intel Foveros全新封装、3D NAND闪存等等莫不如此。但随着堆叠元器件的增多,集中的热量如何有效散出去也成了大问题,AMD就悄然申请了一项非常巧妙的专利设计。

AMD Fiji GPU与HBM显存

Intel Foveros立体封装
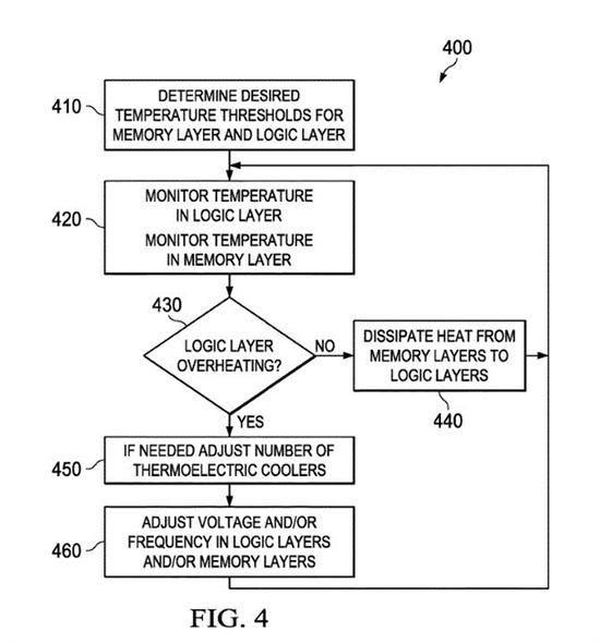
根据专利描述,AMD计划在3D堆栈的内存或逻辑芯片中间插入一个热电效应散热模块(TEC),原理是利用帕尔贴效应(Peltier Effect)。
它也被称作热电第二效应、温差电效应。由N型、P型半导体材料组成一对热电偶,通入直流电流后,因电流方向不同,电偶结点处将产生吸热和放热现象。
按照AMD的描述,利用帕尔贴效应,位于热电偶上方和下方的上下内存/逻辑芯片,不管哪一个温度更高,都可以利用热电偶将热量吸走,转向温度更低的一侧,进而排走。
#FormatImgID_2#
不过也有不少问题AMD没有解释清楚,比如会不会导致上下的元器件温度都比较高?热电偶本身也会耗电发热又如何处理?
但总的来说,AMD的这个思路非常新奇巧妙,未来或许会有很光明的前景。

关键词: AMD,3D堆叠散热
推荐阅读
运动型轿车是什么 运动型轿车与普通车有何区别?
运动型轿车凭借着外观酷炫,动力性能强的特点,深受国内众多消费者的喜爱。特别是在年轻消费者心目中,运动型轿车基本上是购车的首选。但是 【详细】
汽油清洗剂是什么 汽油清洗剂加在汽油里是干嘛的?
最近有很多车主反映加油的时候总是建议用汽油清洁剂。但是,大部分人还是不太了解,还有就是一部分人纳闷汽油清洗剂加在汽油里是干嘛的?汽 【详细】
中国最便宜的汽车是哪个 最便宜的汽车汇总
现在汽车已经成为了大家最常见的交通代步工具了。但是,依然还是有很多的家庭非常的需要代步工具,却买不起特别贵的汽车。所以今天,我们就 【详细】
伊莱克斯冰箱质量怎么样 伊莱克斯冰箱质量好不好?
伊莱克斯冰箱质量怎么样:在2018年全球500强企业中,伊莱克斯排名第162位,在2020年全球2000强企业中,伊莱克斯排名第1965位,可见伊莱克斯 【详细】
劳动保护用品是什么 劳动保护用品有哪些?
劳动保护用品有哪些?劳动防护用品分为特殊劳动防护用品和一般劳动防护用品,一般劳动防护用品是指未列入目录的一般劳动防护用品。以下产品 【详细】
相关新闻
- 斐纳TOMEFON使用状况 斐纳TOMEFON吸尘器好不好用?
- 国产手机排名前十 国产手机排名前汇总
- 环球观点:至今还没有阳的人,他们天赋异禀,还是另有隐情?研究结果来了
- 新动态:iPhone 15 太炸了,标准版有大提升
- 全球即时看!vivo拒绝高价低配:骁龙870+144Hz屏,12GB+256GB跌至1769元
- 实现高并发秒杀的七种方式
- 全球看热讯:3D渲染引擎 HOOPS Visualize 2023全新发布-增加对顶点着色器支持
- 世界看热讯:「升级」Hubstudio多账号安全管理浏览器之扩展中心上线啦!
- 汽车早报 - 消息称蔚来布局百万元级别电动车 广汽称将继续为讴歌中国客户提供售后服务
- 今头条!车轮上的2022∣新能源与汽车出口带动:全国乘用车零售量同比增长1.9%
- 谷歌文档新功能:看到非打印字符
- 世界新消息丨一加新机质感高级,更有多项黑科技加持,3999的价格入手值吗?
- 焦点信息:中国手机品牌在2022年拿下俄罗斯市场份额65% 但高价机一个没有
- 2022年这5款熟悉的产品向我们告别
- 即时:陈副区长事件,引出一个老生常谈的问题,腾讯是否会保留聊天记录
- 我国首个具备独立运行能力的新能源储能项目在内蒙古并网通电
- 上海奉贤区初中转学条件2023
- 新冠病毒变异逻辑的猜测
- 世界讯息:充1次用10天!史上续航最强的国产手机,太猛了
- 全球视点!10个暗藏惊喜的微信小程序,个个好用不要钱,还请低调使用
